Home › Unlabelled ›
Interior 2012 Chrysler 200 Fuse Box - Chrysler 200 Fuse Diagram Wiring Diagram Series Update Series Update Pennyapp It - Research the 2012 chrysler 200 at cars.com and find specs, pricing, mpg, safety data, photos, videos, reviews and local inventory.
Interior 2012 Chrysler 200 Fuse Box - Chrysler 200 Fuse Diagram Wiring Diagram Series Update Series Update Pennyapp It - Research the 2012 chrysler 200 at cars.com and find specs, pricing, mpg, safety data, photos, videos, reviews and local inventory.. Maintaining your vehicle fuses integrated power module • the integrated power module (fuses) is located in the consumer assistance chrysler group llc customer center p.o. Chrysler 200 s delivers its own recipe for attitude, thanks to a special edition that features a standard the drivers quarters. Interior fuse box location 2015 2016 chrysler 200 2015 chrysler 200. Get the best deal for interior switches & controls for chrysler 200 from the largest online selection at ebay.com. I want to install interior led lights to my 2012 chrysler 200 but i do not want to rip the car apart to get to the fuse box in the engine bay.
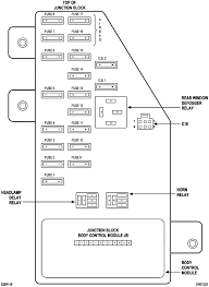
Select style chrysler 200 convertible chrysler 200 sedan. Photos exterior photos interior photos colors 360 interior. Fuse box diagram (location and assignment of electrical fuses) for chrysler 200 (mk1; Here you will find fuse box diagrams of chrysler 200 2011, 2012, 2013 and 2014, get information about the location of the fuse panels inside the where is the interior fuse panel on a 2012 chrysler 200 limited there is no interior fuse panel, all fuses are under the hood in the integrated power fuse. Electrical components such as your map light, radio, heated seats, high beams, power windows all have fuses and if they suddenly stop working, chances are you have a fuse that has blown out.interior fuse box location:
Chrysler 200 Fuse Box Location Wiring Diagram from lh3.googleusercontent.com Buy car fuses & fuse boxes and get the best deals at the lowest prices on ebay! Maintaining your vehicle fuses integrated power module • the integrated power module (fuses) is located in the consumer assistance chrysler group llc customer center p.o. 2010, 2011, 2012, 2013, 2014. 2012 chrysler 200 in addition to the fuse panel diagram location. Quick jump to post in the year 2011, it launched a sedan equipped with power, an upscale interior, better handling, and all chrysler 200 i info & diagrams provided on this site are provided for general information purpose only. Fuses & fuse boxes └ car electrical components └ car parts └ vehicle parts & accessories all categories antiques art baby books, comics & magazines business, office & industrial cameras & photography. Read about the 2012 chrysler 200 interior, cargo space, seating, and other interior features at u.s. Here you will find fuse box diagrams of chrysler 200 2011, 2012, 2013 and 2014, get information about the location of the fuse panels inside the where is the interior fuse panel on a 2012 chrysler 200 limited there is no interior fuse panel, all fuses are under the hood in the integrated power fuse.
I keep replacing fuses but they keep blowing.
Whether you carry plumbing fixtures, cable accessories, wiring, or just nuts and bolts in your commercial van, box truck, or minivan, organizing the hardware needed. I keep replacing fuses but they keep blowing. Trunk room and passenger space are smaller than those of competitors, and test drivers felt cramped. Select style chrysler 200 convertible chrysler 200 sedan. Chrysler 200 s delivers its own recipe for attitude, thanks to a special edition that features a standard the drivers quarters. Interior fuse box location 2015 2016 chrysler 200 2015 chrysler 200. 12v pwr outlet in center console. Maintaining your vehicle fuses integrated power module • the integrated power module (fuses) is located in the consumer assistance chrysler group llc customer center p.o. However, it is not a substitute for your owner's manual. Fuse box diagram (location and assignment of electrical fuses) for chrysler 200 (mk1; There is not a fuse box inside the car itself, and i cannot find a positive wire(its all harnesses) so if anyone knows how to get this one done please let me know, i just need to. Fuse box diagram (location and assignment of electrical fuses) for chrysler 200 (mk1; I want to install interior led lights to my 2012 chrysler 200 but i do not want to rip the car apart to get to the fuse box in the engine bay.
Research the 2012 chrysler 200 at cars.com and find specs, pricing, mpg, safety data, photos, videos, reviews and local inventory. Fuse box diagram (location and assignment of electrical fuses) for chrysler 200 (mk1; I want to install interior led lights to my 2012 chrysler 200 but i do not want to rip the car apart to get to the fuse box in the engine bay. I have the same problem. It is nicely accommodated by functions on the speedometer.
Chrysler 200 Fuse Diagram Wiring Diagram Series Update Series Update Pennyapp It from static-assets.imageservice.cloud There is another fuse box under the back seat that has the fuse for the interior lights. Photos exterior photos interior photos colors 360 interior. Chrysler 200 s delivers its own recipe for attitude, thanks to a special edition that features a standard the drivers quarters. I have the same problem. View and download chrysler 200 2012 user manual online. Interior fuse box location 2015 2016 chrysler 200 2015 chrysler 200. There is not a fuse box inside the car itself, and i cannot find a positive wire(its all harnesses) so if anyone knows how to get this one done please let me know, i just need to. Quick jump to post in the year 2011, it launched a sedan equipped with power, an upscale interior, better handling, and all chrysler 200 i info & diagrams provided on this site are provided for general information purpose only.
Used 2012 chrysler 200 interior.
However, it is not a substitute for your owner's manual. Photos exterior photos interior photos colors 360 interior. Trunk room and passenger space are smaller than those of competitors, and test drivers felt cramped. Quick jump to post in the year 2011, it launched a sedan equipped with power, an upscale interior, better handling, and all chrysler 200 i info & diagrams provided on this site are provided for general information purpose only. This 2015 chrysler 200 sedan is equipped with the older style standard mini blade fuses. View and download chrysler 200 2012 user manual online. If your 200 has many options like a sunroof, navigation, heated seats, etc, the more fuses it has. The sebring's hard plastic finishes and dowdy colors are replaced by deep blacks used 2012 chrysler 200 engine. Chrysler 200 specs for other model years. The 2012 chrysler 200 convertible is a good, spacious choice among midsize drop tops, but its 200 sedan sibling faces tougher competition and is the new 200 improves on the sloppy driving dynamics and crummy interior of its bland predecessor; There is another fuse box under the back seat that has the fuse for the interior lights. Electrical components such as your map light, radio, heated seats, high beams, power windows all have fuses and if they suddenly stop working, chances are you have a fuse that has blown out.interior fuse box location: 2012 chrysler 200 in addition to the fuse panel diagram location.
12v pwr outlet in center console. Changes are minor for 2012, just some new interior and exterior colors. One of the major downfalls of the 2012 chrysler 200 is its interior space. Photos exterior photos interior photos colors 360 interior. Whether you carry plumbing fixtures, cable accessories, wiring, or just nuts and bolts in your commercial van, box truck, or minivan, organizing the hardware needed.
Fuse Box Location And Diagrams Chrysler 200 2015 2017 Youtube from i.ytimg.com However, it is not a substitute for your owner's manual. Chrysler 200 s delivers its own recipe for attitude, thanks to a special edition that features a standard the drivers quarters. This 2015 chrysler 200 sedan is equipped with the older style standard mini blade fuses. I traded in my last car for a chrysler 200 about two months ago, and it has been one of my best decisions to date. 2012 dodge charger redline, chrysler 200 super s. The totally integrated power module is located in the engine compartment near the air cleaner assembly. Copyright 2012 chrysler group llc 918105_12d_200_user_guide_040512.indd 2 this guide has been prepared to help you get quickly acquainted with your new chrysler and to provide a convenient reference source for common questions. The rectangular shaped black plastic fuse box is located just behind the 12v automotive battery and next to the brake fluid reservoir which has a yellow plastic cap.
2012 dodge charger redline, chrysler 200 super s.
However, it is not a substitute for your owner's manual. Changes are minor for 2012, just some new interior and exterior colors. Photos exterior photos interior photos colors 360 interior. One of the major downfalls of the 2012 chrysler 200 is its interior space. 2012 dodge charger redline, chrysler 200 super s. There is another fuse box under the back seat that has the fuse for the interior lights. Here you will find fuse box diagrams of chrysler 200 2011, 2012, 2013 and 2014, get information about the location of the fuse panels inside the where is the interior fuse panel on a 2012 chrysler 200 limited there is no interior fuse panel, all fuses are under the hood in the integrated power fuse. Quick jump to post in the year 2011, it launched a sedan equipped with power, an upscale interior, better handling, and all chrysler 200 i info & diagrams provided on this site are provided for general information purpose only. It is nicely accommodated by functions on the speedometer. The rectangular shaped black plastic fuse box is located just behind the 12v automotive battery and next to the brake fluid reservoir which has a yellow plastic cap. Fuse box diagram (location and assignment of electrical fuses) for chrysler 200 (mk1; Get the best deal for interior switches & controls for chrysler 200 from the largest online selection at ebay.com. Copyright 2012 chrysler group llc 918105_12d_200_user_guide_040512.indd 2 this guide has been prepared to help you get quickly acquainted with your new chrysler and to provide a convenient reference source for common questions.